This section is from "Scientific American Supplement". Also available from Amazon: Scientific American Reference Book.
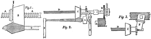
In Germany extensive use is made of a cop-winding machine in which the wooden spindle consists of a cone moved by a screw, and the position of which is horizontal. Fig. 1 shows the primitive type of the German apparatus, in which the cone that forms the cop is set in motion by a horizontal screw. It is at first the greater diameter of the cone that moves the tube, and permits the thread to accumulate beneath the narrow extremity. But, as soon as a core of thread has been formed, it is in contact with the entire surface of the cone, and thus revolves with a mean velocity until it is finished.
In the new model (Fig. 2) the arrangement is different. Here A is the paper tube, with wooden base, to which it is freely attached, and C is the cone that moves over the screw, D. The thread passes into a groove which makes one revolution of the cone, and from thence over the paper tube, where it receives the form of a cop by reason of the transverse motion of the cone upon the screw. This transverse motion is at first prevented by the click, F, which falls into the teeth of the ratchet-wheel fixed behind the cone. The shaft revolves continuously, but has, at the same time, a to and fro motion in the direction of its axis, so as to cause the thread to move forward constantly and form a cop. This to and fro motion is obtained by means of a lever and a sleeve, I, the wheel, H, of the shaft being set in motion by the pinion, J, actuated by the transmission of the machine. As the spindle advances, a core is formed; the click, F, is then pushed backward, and the cone is kept in motion by the thread until the cop is finished.

A NEW COP-WINDING MACHINE.
Preference is usually given to the horizontal model; but the system may likewise be applied to a vertical spindle, and the arrangement in this case is simpler, as shown in Fig. 3. A rotary motion of the shaft is useless here, as the click, F, acts in an oblique position upon the ratchet-wheel, O, and pushes it by reason of the to and fro motion of the screw.
[Continued from SUPPLEMENT, No. 513, page 8191.]
 
Continue to: