This section is from the book "Electricity For Boys. The "How-To-Do-It" Books", by J. S. Zerbe. Also available from Amazon: Electricity for Boys.
The self-induction in a current of this kind is utilized in transmitting electricity to great distances. Wires offer resistance, or they impede the flow of a current, as hereinbefore stated, so that it is not economical to transmit a direct current over long distances. This can be done more efficiently by means of the alternating current, which is subject to far less loss than is the case with the direct current. It affords a means whereby the flow of a current may be checked or reduced without depending upon the resistance offered by the wire over which it is transmitted. This is done by means of what is called a choking coil. It is merely a coil of wire, wound upon an iron core, and the current to be choked passes through the coil. To illustrate this, let us take an arc lamp designed to use a 50-volt current. If a current is supplied to it carrying 100 volts, it is obvious that there are 50 volts more than are needed. We must take care of this excess of 50 volts without losing it, as would happen were we to locate a resistance of some kind in the circuit. This result we accomplish by the introduction of the choking coil, which has the effect of absorbing the excessive 50 volts, the action being due to its quality of self-induction, referred to in the foregoing.
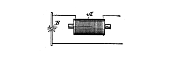
Fig. 114. Choking Coil
In Fig. 114, A is the choking coil and B an arc lamp, connected up, in series, with the choking coil.
 
Continue to: