This section is from the book "Modern Shop Practice", by Howard Monroe Raymond. Also available from Amazon: Modern Shop Practice.
The bearing-cap casting seen in Fig. 341 was first produced with a hand-molded pattern, using a heel core to mold the square hole in the upright position shown at d. This heel core and the setting of it was an expense; there was always an unevenness at the surface of the casting caused by the heel of the core, which had to be ground smooth. To avoid these objectionable features, what is called an expanding pattern may be adopted.

Fig. 341. Sketch of Bearing-Cap Casting.
The principal stages of the molding process will be considered to give a clear conception of the purposes of the several parts.
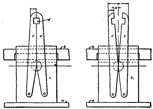
Fig. 342 illustrates the cope and drag machine, with the patterns in position for molding. As the sand is rammed to cover the pattern c, the operator pinches the facing sand into the hole d with thumb and forefinger. The handle h is then depressed, this motion opening or expanding pattern c, as illustrated in Fig. 343. The mold now has the dimensions required and a green-sand core that will form the square hole d. Lowering the draw plate a draws the patterns c and c1 through the stripping plate b, and the drag mold is completed. The pattern c2 is not drawn through the stripping plate, as enough draft can be given to'this part to allow the mold to be easily lifted, the flask pins guiding the mold until the pattern is clear.
Fig. 344 illustrates both machines with patterns drawn.

Fig. 345. End Elevation of Cope Machine.
Taking up the construction of the several parts, the cope machine will be fitted first. The stripping plate will be of standard dimensions, and it will be well to adopt several sizes and mount all patterns on these plates so as to avoid the expense of the numerous sizes of flasks required. The stock stripping-plate machines are built with circular and rectangular frames. The rectangular frames usually are 12 inches, 14 inches, 16 inches, and 20 inches square, but it fa possible to extend the stripping and draw plate so that a 12-by 14-inch, 12- by 16-inch, and 12- by 20-inch flask can be used on a 12- by 12-inch machine. The machine for these patterns has a frame 14 inches by 14 inches, outside dimensions.
There are to be four patterns mounted, but, in describing the parts, only one will be referred to, it being understood that the four patterns are connected together and operated by the same motion. A section of the cope-pattern c, and stripping and draw plates are shown in Fig. 345. Core the holes in the stripping plate by the same method as used before. An illustration of the cope master-pattern c is shown in Fig. 346. That portion of the pattern above the dotted line is above the top of the stripping plate, and should have a file-finish allowance. The bottom of the bolting flange should have a finish allowance of 1/16 inch.
The illustration in Fig. 347 is a sketch of the assembled parts of the drag machine. The stripping and draw plates are broken away, and the frame of the machine is not shown. Spacers must be furnished for this machine, as shown at m in Fig. 311. The stripping plate is bolted to the outside frame and the draw plate to the draw frame of the machine. The pattern is made of four parts. A master pattern for a bronze casting of c2 shall be made, and this part is to be riveted to the stripping plate. Part c1 is bolted direct to the draw plate. Parts cc are supported by the stand g which in turn is bolted to the draw plate a. The lower end of the right-hand pattern c is connected by a steel pin to the link j1, not shown; the left-hand c is connected to the link j, by a longer steel pin, which passes through a slot in link j1, into a hole in link j.
Connecting the link j and j1 by the arms I and l1 to diametrically opposite points on the disk k transmits an opposing motion to links j and j1, moving the parts cc away from each other, pressing the mold to the form desired, and leaving a green-sand core at d to form the square hole in the casting. The draw plate can then be lowered, drawing and stripping the patterns cc and c1 through the stripping plate. The links j and j1 extend the length of the machine, conecting with the four patterns. The recess o is stripped with a stool p, Figs. 351 and 357. These stools and the yoke q, Figs. 347 and 356, upon which they are attached, are bolted to the underside of the stripping plate, as shown in Fig. 351.

Fig. 351. Nowel End Elevation of Drag Machine.
The pattern c1, an illustration of which is shown in Fig. 348, will require a finish allowance of 1/16 inch on the underside of the foot, and a file-finish allowance on that part which protrudes above the stripping plate. The master pattern with its core box is illustrated in Figs. 349 and 350. As before, the core-print stock should be dressed to dimension first, and that part of the pattern representing iron nailed and glued to it. Use the double-shrink rule or allow double shrinkage when making these master patterns, and allow planing, turning, and file finish where needed.

Fig. 352. Expanding or Crush-Back Motion.

Fig. 353. Master Pattern of Part c, Fig. 352.
The core box, one side of which is shown removed so as to show its construction, is intended to make two cores which when pasted, will make the core as used in the mold.
The surface on the pattern enclosed by the dotted line at r shall be shellacked to same color as the core prints, as the core cuts through at this point, and if it is not indicated in this manner the molder would be in doubt as to whether the core should or should not cut through. Molders have been known to file the core to be sure of getting metal in a case like this, the reasoning being that if a hole is wanted it can be cut out easier than the hole could be filled in, should the core be allowed to cut through. The molder should not be left to surmise what is wanted. Always mark patterns by some understood method so that there will be no need of verbal instructions to the molder.

Fig. 354. Stand - Support for Pattern c, Fig. 353.

Fig. 355. Bracket and Bearing for Operating Device.

Fig. 356. Stool Yoke.

Fig. 357. Master Pattern of Stool.
Fig. 351 is an end view of the nowel or drag mounting, and in Fig. 352 the layout of the patterns c c is illustrated. Make a full-size layout of this motion; the dimension v shall be such that when the pattern c is drawn it will not strike and break down the green-sand core d. This dimension v+x must be slightly less than w/2, w being the dimension of the width of the pattern.
Fig. 353 illustrates the master pattern of the part c. Two castings from this pattern can be fitted together as shown in Fig. 352. The length from the center to the lower end is optional, but the top of the stripping plate should be kept as low as possible. The operator can work easier and mold the pattern quicker if he does not have to shovel the sand too high.
The parts g and n, illustrated in Figs. 354 and 355, and their object, as shown in Fig. 347, should explain all that is necessary. Their dimensions are fixed by the dimension requirements of the commercial casting.
Fig. 356 illustrates the stool yoke q. The parts y extend into the pattern c1, as shown in Fig. 351, and the stool p is attached as shown. The top of this stool, a sketch of which is shown in Fig. 357, is fitted to the recess o in the pattern c1, shown in Fig. 348, and is used to prevent the sand in this recess from following the pattern when the pattern is drawn; in other words, it acts in just the same manner as the stripping plate does with the outside of the pattern.
The sheet-metal cover over the expanding-motion device, shown in Fig. 342, is intended to prevent the molding sand getting into the bearings and causing excessive wear. The handle h will be made of machine steel, threaded on the machine end, and screwed into the periphery of the disk k, as shown in Fig. 347. This handle should be designed to be easily removed, while storing the machine, to prevent breakage.
Fig. 358 illustrates the master pattern for the gate pattern. This will be a bronze casting and is fastened to the cope machine. A steel pin should also be fitted to this gate pattern to locate the sprue.

Fig. 358. Master Pattern of Gate.
 
Continue to: